南北儀器專業提供實驗室儀器設備一站式解決方案
產品概述:
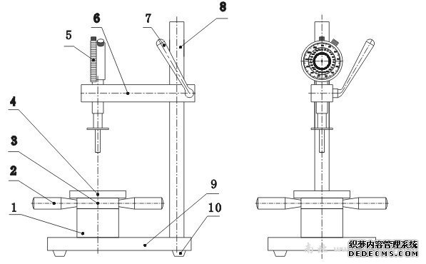
GYJ水果硬度計支架,專為AGY-1、AGY-2、AGY-3三
種型號的水果硬度計配備,進行準確的蘋果、香蕉、梨、西
瓜等多種水果硬度測試。
特點:
1. 操作簡單穩定,適合室內桌上測試使用;
2. 采用螺桿傳動技術;
3. 位移平穩,測試精度高。
產品參數:
1. 測試有效行程:15mm;
2. 外形尺寸(長x寬x高):188x200x336mm;
3. 凈 重:8.5kg。
測試:
1.測試時,將水果硬度表裝到機架上,將水果放于工作臺上,旋轉機臺上的手輪柄,使水果硬度表頭壓入水果內即可。
2.水果硬度表所顯示的數值即為所硬度值。
結構圖:
