南北儀器專業提供實驗室儀器設備一站式解決方案
1、 系統概述
1.1主要用途及適用范圍
AWE帶角度數顯扭矩扳手是一款數顯扳手。可以直接并準確的讀出扭矩-角度值,使用簡單,易于操作。適用于汽車行業、機械行業等的螺栓緊固及控制。
1.2功能特點
1.2.1 可直接讀出扭矩-角度值;
1.2.2 ±1°(轉動90°速度在30°/sec);
1.2.3 ±1%;
1.2.4 可順時針和逆時針測量;
1.2.5 蜂鳴器、LED和振動器提示目標值;
1.2.6 四種扭力單位:N.m、kfg.cm、ft.lbf、in.lbf等。
1.2.7 角度單位為度(°)
1.2.8 自帶3.7V鋰電池,通過USB可以直接對鋰電池充電;
1.2.9 自帶usb接口,可上傳保存數據。
1.2.10 測量模式:實時模式、峰值模式和預置模式三種測量模式。
1.2.11 自動背光功能;
1.3 規格參數
|
型號 |
不帶通訊 |
AWE2 -0010 |
AWE2 -0030 |
AWE3-0030 |
AWE3-0060 |
AWE3-0085 |
AWE3 -0135 |
AWE4 -0135 |
AWE4 -0200 |
AWE4 -0340 |
AWE6- 0500 |
AWE6- 0850 |
|
帶通訊 |
AWE2 -0010R |
AWE2 -0030R |
AWE3-0030R |
AWE3-0060R |
AWE3-0085R |
AWE3 -0135R |
AWE4 -0135R R |
AWE4 -0200R |
AWE4 -0340R |
AWE6- 0500R |
AWE6- 0850R |
|
|
Z小分度值 |
0.01 |
0.1 |
||||||||||
|
Z大操作范圍 (N.m) |
10N.m/7.37ft.lb/88.50in.lb/101.97kgf.cm |
30N.m/22.12ft.lb/265.5in.lb/305.91kgf.cm |
30N.m/22.12ft.lb/265.5in.lb/305.91kgf.cm |
60N.m/44.25ft.lb/531.04in.lb/611.82kgf.cm |
85N.m/62.69ft.lb/752.31in.lb/866.75kgf.cm |
135N.m/99.57ft.lb/1195in.lb/1376.61kgf.cm |
135N.m/99.57ft.lb/1195in.lb/1376.61kgf.cm |
200N.m/147.5ft.lb/1770in.lb/2039.43kgf.cm |
340N.m/250ft.lb/3009in.lb/3467.03kgf.cm |
500N.m/4424in.lb/368.7ft.lb/5098.58kgf.cm |
850N.m/7521in.lb/626.8ft.ln/8667.58kgf.cm |
|
|
連接頭(inches) |
1/4 |
3/8 |
1/2 |
3/4 |
||||||||
|
長度 |
390 |
420 |
535 |
655 |
|
|
||||||
|
扭力精度*1 |
±1% |
|
||||||||||
|
角度精度 |
±1°(角度在每秒30°的速度轉90°下測量之精度) |
|||||||||||
|
資料存儲容量 |
255 |
|||||||||||
|
操作模式 |
峰值模式(P)/實時模式(T)/預置模式(Pre) |
|||||||||||
|
單位 |
N.m、kgf.cm、ft.lbf、in.lbf |
|||||||||||
|
棘輪頭形式 |
雙向棘輪頭 |
|||||||||||
|
棘輪頭齒數 |
36 |
48 |
||||||||||
|
按鍵數 |
5 |
|||||||||||
|
電池 |
3.7V鋰電池 |
|||||||||||
|
操作溫度 |
-10℃~60℃ |
|||||||||||
|
存儲溫度 |
-20℃~70℃ |
|||||||||||
|
濕度 |
無凝露可到90% |
|||||||||||
|
摔落測試高度 |
1米 |
|||||||||||
|
振動測試條件*2 |
10G |
|||||||||||
|
壽命測試*3 |
|
|||||||||||
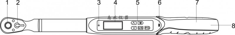
二、產品組件
2.1產品結構

2.2液晶顯示圖

1、 雙向棘輪頭 2、轉向撥片
3、LED指示燈 4、LCD屏幕
%1、 按鍵 6、蜂鳴器
7、電池盒 8、電池蓋
9、棘輪扭力方頭 10、USB/充電接口
11、充電指示燈 12、握把
13、電池電量顯示 14、角度值顯示
15、工作模式 16、單位顯示
17、扭力方向 18、扭力值顯示
19、向上/預置值解鎖按鍵 20、存儲/查看按鍵
21、向下/工作模式切換按鍵 22、單位切換/菜單按鍵
23、電源/置零按鍵
三、工作模式說明
3.1 工作模式切換

3.2 實時模式操作
實時測量模式跟隨施加扭矩值和旋轉角度值(旋轉角度值時通過扭矩值大于0時開始計算選擇角度)。當卸載扭力,扭力值到零時,角度自動清零。
液晶屏顯示為T時,為實時模式,如果不顯示T,請按“
”鍵進行模式切換。操作步驟如下圖所示:

NOTE1:實時模式下,扭力值大于0時,就會顯示角度值.
NOTE2:實時模式下,達到預設目標力值的90%時,蜂鳴器開啟后,紅燈閃爍,蜂鳴器短鳴;振動器開啟后,紅燈閃爍,振動器間斷振動,振動頻率根據扭力接近程度提高震動頻率
NOTE3:實時模式下,蜂鳴器開啟后,達到或大于預設目標扭力值時,紅燈長亮,蜂鳴器長鳴;振動器開啟后,紅燈長亮,振動器連續振動。
NOTE4:蜂鳴器和振動器不能同時啟用。若用戶開啟蜂鳴器后,振動器自動關閉;若開啟振動器,則蜂鳴器自動關閉。
3.3 峰值模式
在峰值測量模式下,當施加扭力時,扳手將鎖住Z大施加扭力和Z大角度,并將其顯示在液晶屏上。當卸載扭力時,峰值扭力和峰值角度將被鎖定,當再次加載時LCD液晶屏將不更新已鎖定峰值。當開啟自動保存功能時,扳手會自動保存力值和角度,并自動清零,需進行下次測量時,直接加載扭力。當未開啟自動保存功能時可通過按“M”鍵保存或通過按“P/C”鍵清零。
液晶屏顯示P為峰值模式,如果不顯示P,請按“
”鍵進行切換。峰值模式操作步驟如下圖所示:

NOTE1:峰值模式下,首次測量時當扭力值大于0時,扳手顯示角度與扭力值;但是當繼續施力時(不清零且不保存數值的情況下),本次測量扭力值大于首次測量力值時角度值才會跟隨扭力值變動。
NOTE2:峰值模式下,達到預設目標扭力值的90%時,蜂鳴器開啟后,紅燈閃爍,蜂鳴器短鳴;振動器開啟后,紅燈閃爍,振動器間續振動。
NOTE3:實時模式下,蜂鳴器開啟后,達到預設目標扭力值時,紅燈長亮,蜂鳴器長鳴;振動器開啟后,紅燈長亮,振動器連續振動。
NOTE4:蜂鳴器和振動器不能同時啟用。若用戶開啟蜂鳴器后,振動器自動關閉;若開啟振動器,則蜂鳴器自動關閉。
3.4 預置模式
預置模式是采用扭力值達到目標值后,繼續給要鎖緊螺絲一定的角度而設計的。當施加的扭力值大于等于目標扭力值時,扳手開始計算角度值。當卸載扭力時,扭力值和角度值自動鎖死。
液晶屏顯示Pre為預置模式,如果不顯示Pre,請按“
”鍵進行切換。預置模式操作步驟如下圖所示:

NOTE1:預置模式下,達到預設目標扭力值時,扳手才會顯示角度。
NOTE2:預置模式下,達到預設目標扭力值的90%時,紅燈閃爍。
NOTE3:預置模式下,蜂鳴器開啟后,達到預設目標扭力值時,紅燈長亮,蜂鳴器短鳴;振動器開啟后,紅燈長亮,振動器間續振動。
NOTE4:蜂鳴器和振動器不能同時啟用。若用戶開啟蜂鳴器后,振動器自動關閉;若開啟振動器,則蜂鳴器自動關閉。
四、使用方法
4.1 開機
短按“P/C”鍵開機,開始后如果電量顯示不足,則自動關機,充電后方可正常使用。
4.2 單位切換

4.3設置預置值
先按“P/C”鍵開機,按“
”鍵,判斷按鍵鎖是否已開啟。如果按鍵鎖已開啟,可通過系統設置中的“按鍵鎖”來關閉按鍵鎖功能(詳見下文“系統設置”)。若按鍵鎖未開啟,會顯示字母“
”,然后可以按“
”鍵,增加目標值,或者按“
”鍵,減小目標值。設置完成后,按“U/S”鍵保存退出。
4.4 清零
①當扳手力值為0時,按“P/C”鍵,會顯示“
”,此時表示為角度校準清零。在角度清零時,請將扳手放置在平面上靜止,直到角度清零完成。
②當扳手有力值顯示時,按“P/C”鍵直接將力值清零,角度不清零。
4.5 數據保存和查看
4.5.1 數據保存
①在測量界面短按“M”鍵,顯示“”時,表示保存成功。當力值為零時,無法保存,會提示“
”。
②自動保存:在峰值模式和預置模式下,在系統設置中設置自動保存時間不為0時,扳手會自動保存扭力值。當自動保存時間為0時,則扳手不會自動保存扭力值,用戶需手動按“M”鍵保存扭力值。
4.5.2查看保存數據
按“P/C”鍵開機或在開機測量界面下,長按“M”鍵,可查看保存的數據,在數據查看界面可以通過,“
”或“
”鍵,查看保存記錄,當查看完畢,按“U/S”鍵退出。
4.6刪除存儲數據
①在測量界面,長按“M”鍵,進入數據查看界面后,短按“P/C”鍵,顯示“yes”,或“
”,當顯示“yes”,然后按“U/S”鍵,顯示“succ”,即表示數據全部刪除(本儀器無法逐條刪除數據)。
②在測量界面,長按“M”鍵,進入數據查看界面后,按“P/C”鍵,顯示“yes”,繼續按“P/C”鍵,切換顯示“
”,再按“U/S”鍵,直接回到測量界面,表示數據不刪除。
4.7 系統設置

4.7.1 角度設置:可設置范圍為0~999,用戶可通過按“
”鍵和“
”鍵設置自己所需的數值。當角度顯示999時,在往上加會循環變為0,同樣當角度顯示0是,按“
”鍵往下減時,角度會跳到999。
4.7.2 按鍵鎖:針對預設目標扭力值。用戶可通過按“
”鍵和“
”鍵來設置按鍵鎖開啟或者關閉,“1”為開啟,“0”為關閉。
4.7.3 自動保存時間:可設置范圍為0~5(秒),0表示關閉自動保存功能。用戶可通過按“
”鍵和“
”鍵來設置自動保存時間。
4.7.4 蜂鳴器:設置蜂鳴器開啟或者關閉。1為開啟,0為關閉。用戶可通過按“
”鍵和“
”鍵來設置蜂鳴器開啟或者關閉。
4.7.5 振動器:設置振動器的開啟或者關閉。1為開啟,0為關閉。用戶可通過按“
”鍵和“
”鍵來設置振動器開啟或者關閉。
4.7.6 自動關機:自動關機時間設置,可設置范圍為0~30(分鐘)。0為關閉自動關機功能,用戶可通過按“
”鍵和“
”鍵設置自己所需的自動關機時間。
4.7.7 恢復出廠設置:用戶通過此功能可使儀器恢復出廠設置。通過按“
”鍵和“
”鍵來選擇“yes”(恢復出廠設置)或者“
”(不恢復出廠設置)。若選擇恢復出廠設置,選擇“yes”后迅速短按“U/S”鍵,液晶屏隨后出現“succ”(已恢復出廠設置),并且系統自動返回到測量界面。若選擇不恢復出廠設置,選擇“
”即可。
五、通信與上傳數據
本扳手采用USB通信模式,可以將保存的數據上傳到PC中,也可以將實時測量數據上傳到PC中。
使用制造商提供的光盤,在電腦上安裝好通訊軟件,然后在數顯扳手開機狀態下用數據線連接數顯扳手和電腦,雙擊軟件圖標,打開軟件,先選擇“Com No(端口號)”,再點擊“Part Open”,然后點擊“Upload”,這時表格上會出現本儀器內的存儲數據,表示上位機已連接成功,已達到讀取存儲數據的目的。如下圖所示:

通信設置:波特率4800,8位數據位,無奇偶校驗,1個停止位。
通信格式:
3字節數據頭 + 1字節功能碼 + 2字節數據長度 + N字節數據長度 +1字節校驗和
數據頭: 0xEB 0x00 0x55
|
功能碼 |
含義 |
例子 |
|
F0 |
PC機向扳手發送握手指令 |
指令:EB 00 55 f0 00 00 30 |
|
F1 |
扳手向PC機握手確認指令 |
返回指令:EB 00 55 F1 00 00 62 |
|
F5 |
PC機向扳手請求儲存數據 |
指令:EB 00 55 f5 00 00 35 |
|
01 |
扳手發送量程數據 |
返回指令:EB 00 55 01 00 02 00 1E C2 |
|
02 |
扳手發送儲存數據大小 |
返回指令:EB 00 55 02 00 02 00 06 94 |
|
03 |
扳手發送儲存數據大小 |
返回指令:EB 00 55 03 00 12 00 01 00 00 00 04 00 00 00 00 00 02 00 00 00 00 00 00 B8 |
|
04 |
扳手發送數據已發完 |
返回指令:EB 00 55 04 00 00 88 |
|
FC |
PC請求實時數據 |
指令:EB 00 55 FC 00 00 3C |
七、提示信息
|
提示信息 |
含義 |
解決辦法 |
|
ER-2 |
儲存器異常 |
儲存器已滿,或儲存器已損壞。清除儲存數據或返廠維修。 |
|
ER-3 |
傳感器或線路板異常 |
力值大于5%清零點,卸載力值再清零。 如卸載力值無法清除錯誤信息,返廠維修。 |
|
ER-4 |
超量程 |
超過滿量程的120%將提示ER-4, 卸載力值后,按【P/C】鍵清除錯誤。 |
|
SUCC |
提示操作完成 |
一個操作完成,自動返回。 |
|
Fail |
提示操作失敗 |
一個操作失敗,自動返回。 |
八、保養與儲存
8.1 注意:
為了維持良好精度,建議大約每一年需重新校正一次。
8.2 過扭力可能會造成損壞或精度損失(超過Z大扭力范圍105%)。
8.3 請勿將扳手劇烈搖晃或將扳手摔落地上。
8.4 不要把扳手當鐵錘使用。
8.5 請勿將扳手放在高溫、高濕度或是太陽直射的地方。
8.6 請勿在靠近水的地方使用扳手。
8.7 如果不小心將扳手弄濕,請立刻用干毛巾擦干。海水中的鹽分可能會破壞扳手。
8.8 請勿使用有機溶劑清潔扳手,如酒精或是油漆稀釋劑。
8.9 請勿將扳手靠近磁性物體。
8.10 請勿將扳手放置在灰塵或是砂子很多的地方,這會導致扳手嚴重的破壞。
8.11 請勿重壓LCD屏幕。
九、隨機附件
|
1 |
鋰電池 |
1節 |
|
2 |
說明書 |
1份 |
|
3 |
電池蓋鑰匙 |
1個 |
|
4 |
合格證 |
1份 |
|
5 |
保修卡 |
1份 |
|
6 |
檢查證明書 |
1份 |
|
7 |
干燥劑 |
1包 |