南北儀器專業提供實驗室儀器設備一站式解決方案
ATH-20數顯彈簧拉壓試驗機
一:概述
本試驗機是測試拉伸和壓縮彈簧的變形量和負荷關系特性的zhuan用儀器。適用拉伸和壓縮彈簧的一定工作長度下的工作負荷測試。本試驗機采用xian進的、高集成度的一體化單片機,和中文液晶顯示,外型采用金屬外殼,ji大的提高了系統的抗干擾能力。
二:功能特點
1、實時,峰值,自動峰值三種模式可隨意切換
2、高精度高分辨率,精度1級,z小讀數達0.001N
3、三種計測單位可選擇,N、Kg、Lb相互換算
4、峰值保持功能:可抓取測試中的峰值;
5、比較功能:上下限偏差自由設定,報警指示燈分別以紅綠燈顯示及蜂鳴器自動報警;
6、自動峰值功能:峰值保持時間(1~99秒)自由設定;
7、自動關機功能:0~99分無操作自動關機(0秒表示不自動關機);
8、重力加速度功能:跟進地域不同,可自由設定(9.000~9.999);
9、存儲99組測試數據,可直接在本機上查看存儲數據及刪除.
10、計算功能:連接電腦,可自動計算每次測試的z大值、z小值、平均值;
11、打印存儲的測試數據和z大值、z小值、平均值,做合格或不合格判斷(jin限于帶打印機)
12、通訊采用MODBUS-RTU標準協議,采用USB接口更好地跟組態和PLC連接
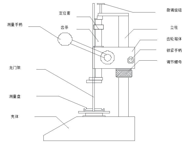
三:產品構造
1、示意圖:

2、變形量顯示尺框:


四:規格參數
型號(帶P表示帶打印機) | ATH-10 | ATH-20 | ATH-30 | ATH-50 | ATH-100 | ATH-150 | ATH-200 | ATH-300 | ATH-500 | ATH-1000 | ATH-2000 | ATH-3000 | ATH-5000 |
ATH-10P | ATH-20P | ATH-30P | ATH-50P | ATH-100P | ATH-150P | ATH-200P | ATH-300P | ATH-500P | ATH-1000P | ATH-2000P | ATH-3000P | ATH-5000P | |
z大試驗負荷 | 10N | 20N | 30N | 50N | 100N | 150N | 200N | 300N | 500N | 1000N | 2000N | 3000N | 5000N |
z小分辨率 | 0.001N | 0.01N | 0.1N | ||||||||||
0.0001kg | 0.001kg | 0.01kg | |||||||||||
0.0001Lb | 0.001Lb | 0.01Lb | |||||||||||
位移標尺行程 | 60mm | 90mm | 150mm | ||||||||||
位移標尺分度值 | 0.01mm | ||||||||||||
壓盤直徑 | 34mm | 48mm | 108mm | ||||||||||
可測彈簧z大自由長度 | 80mm | 150mm | 200mm | ||||||||||
精度 | ±1% | ||||||||||||
電源 | 交流220V 50HZ | ||||||||||||
功率 | 不帶打印13W 帶打印機20W | ||||||||||||
工作溫度 | 20±10℃ | ||||||||||||
凈重 | 14.5kg | 18kg | 67kg | ||||||||||
外形尺寸 | 490×280×300mm | 570×280×300mm | 790×610×320mm | ||||||||||
五:顯示面板

六:按鍵說明
1、設置鍵:用戶在測量界面可以通過此鍵進入設置菜單,并且在設置數據時按此鍵保存數據。
2、查看鍵:在測量界面時通過此鍵可以查看存儲的測量數據
3、峰值鍵:用來切換實時,峰值,自動峰值三種測量模式
4、保存鍵:用來保存測量的數據
5、單位鍵:用來切換N,Kg,Ib三種單位
6、置零鍵:在實時測量時,按此鍵,可以修正零點。在峰值和自動峰值時,按此鍵,可以清除峰值,恢復到零點;在查看界面時,按此鍵,可以清除當前儲存測量值,長按此鍵,可以清除全部存儲測量值。在用戶設置界面,按此鍵,不保存數據退回上一級界面。
7、打印鍵:在測量界面,按此鍵,可以打印存儲的測量值。(無打印功能的機子除外)
8、向上鍵:在用戶設置界面,按此鍵可上下修改設置項,在參數設置時,按此鍵,可以按位移動,來選擇要修改的位數;在查看界面,按此鍵,可以查看上一個數據。
9、向下鍵:在用戶設置界面,按此鍵可以向下修改設置項,在參數設置時,按此鍵,可以在當前位進行數據修改;在查看界面,按此鍵,可以查看下一個數據。
10、ON/OFF鍵:可以用來開機,和關機。
七:用戶操作說明
1、開機顯示
開機顯示歡迎使用以及廠家信息

顯示產品名稱,型號和版本信息

2、用戶主界面顯示
顯示完開機顯示信息之后,進入用戶主界面顯示如下:

D一行顯示的內容根據用戶設定的測量模式.可分為實時,峰值,自動峰值三種
D二行顯示的內容是用戶存儲的數據地址
D三行顯示的內容是當前測量的力值
3、用戶設置界面
按一下設置鍵,顯示如下:

通過向上鍵或者向下鍵進行設置項的選擇,選擇到用戶的設置項時,通過按設置鍵進入參數設置界面。
4、參數設置界面(以上限值設定為例)
在用戶設置界面,按設置鍵進入參數設置界面顯示如下:

設置參數說明:通過向上鍵和向下鍵進行移位和數據修改,此時按設置鍵,確定并保存設置數據,(如按置零鍵返回,不修改數據)。設置的數據不能超過z大負荷值。
4.1 上限值設定
用戶設定上限值,根據需要自由設定,達到上限值即自動聲光報警,上限值不高于滿量程.
4.2 下限值設定
用戶設定下限值,根據需要自由設定,達到下限值即自動燈光報警,下限值不得高于設定的上限值.
4.3 z小存儲值設定
用戶根據存儲需要設定z小存儲值,小于該值的數據將不被儲存.
4.4 z小峰值保持值設定
用戶根據峰值,自動峰值測量需要自由設定,小于該值的數據不被峰值保存.
4.5 自動峰值時間設定
用戶根據自動峰值測量狀態下峰值需要保持的時間從1秒-99秒自由設定.
4.6 自動關機時間設定
無操作狀態下,自動關機時間從1分鐘-99分鐘可自由設定.
4.7 重力加速度設定
用戶可根據本地區的位置設定重力加速度值,本機默認9.794.
4.8 恢復初始設置
用戶操作不當或多次更改數據出現混亂,可以通過此項設置來把1~7的數據恢復到出廠狀態.
5、數顯標尺使用說明
①、in/mm:此鍵為單位轉換鍵,是英寸與毫米兩者之間互相切換;
②、ABS:此鍵為jue對鍵;
● 顯示窗顯示某一數值,而數值上沒有"ABS"字符出現,這時表示正常測量模式;
● 當按下此鍵后,顯示窗將會顯示為零,數值上有"ABS"字符出現,這時表示ABS測量模式,表示以此處為起始點測量距離,顯示數值為ABS測量模式下的數值;
● 直到再次按下此鍵后,數值上沒有"ABS"字符出現,表示又回到正常測量模式,顯示數值為正常測量模式下的數值。
③、hold:此鍵為鎖定記憶鍵,數值將被鎖定,不發生任何變化再按一次鎖定功能清除。
④、ON/OFF:此鍵為開關鍵,電源在開與關之間相切換;
⑤、ZERO:此鍵為置零鍵,將顯示的數值清零。
八.其它功能說明
1、打印功能說明:通過微型打印機打印數據
2、通訊:通過USB和上位機進行通訊。通訊協議采用MODBUS-RTU協議,同步測試功能可連接電腦測試,電腦上同步顯示測試力曲線圖及測試過程中詳細的測試力的記錄,并可保存、打印,做各種分析。
3、保存數據:通過保存鍵保存測量時的數據
4、查看存儲數據:通過查看鍵查看存儲的數據
5、清除存儲數據:在查看界面,通過按置零或者長按置零鍵,來清除當前或者全部存儲數據
6、報警說明:當測量值超過上限值或者低于下限值時,蜂鳴器進行報警,面板上LED燈顯示不同的顏色;當測量值低于下限值時,下限顯示燈會顯示。當測量值超過z大負荷的120%時,可能會導致傳感器的損壞。當測量值超過z大負荷的150%時,肯定會導致系統的損壞。當出現“超載”jing告提示時,機器即進入自動保護狀態,須重新開機,若無法測量請長按“設置”鍵,輸入密碼:向上鍵、向下鍵,按設置鍵進入恢復出廠設置界面,選擇恢復出廠設置,按設置鍵即可恢復(若無法恢復時請聯系廠家)。
九、用戶操作
·拉伸彈簧的變形量、工作負荷測試:
A、接上電源,按下電源開關開機自檢;
B、按[置零]鍵,聽到一聲蜂鳴確認;
C、向上驅動手柄,連接上下拉簧鉤頭,驅動調整手柄,至負荷顯示接近被測彈簧試驗負荷值時,按下變形量顯示置零鈕。
D、掛上被測拉簧,驅動手柄拉至所需變形量,讀取負荷顯示數值,即為該彈簧此變形量下的工作負荷值。
·壓縮彈簧的變形量、工作負荷測試:
A、同上;
B、同上;
C、向下驅動手柄使上下壓盤(測量觸頭)接觸,驅動(調整)手柄,至負荷顯示接近被測彈簧試驗負荷,按下變形量顯示置零鈕;
D、放置被測壓簧,轉動手柄壓至所需變形量,讀取負荷顯示數值,即為該彈簧此變形量下的工作負荷值。
打印功能:
如需打印需將測試數據保存后,按打印鍵數據打印出來
注【1】:由于本機負荷測量傳感器采用電阻應變式,當在負荷下也會產生一定的變形。為減少測量誤差,變形量置零時的負荷傳感器的負荷應盡可能接近被測彈簧的被測工作負荷值,以消除工作負荷傳感器變形誤差。當一般精度測量時,變形量置零時的負荷值可取為10~15N。
注【2】:由于變形量顯示置零時,手柄向下到底置零。與測拉簧時相反,故所顯示變形量為負值,實際讀數取其jue對值,即正值。
·微調旋鈕的使用:
A、首先將微調旋鈕裝置與立柱連接牢固,保持兩者之間的中心在同一條線上;
B、在確認連接牢固和中心在同一條線后,先將左側的旋鈕放松以,使上旋鈕能夠自由運動,將旋鈕調整適合位置后再將左旋鈕旋緊;
C、打開數顯標尺,置零后,根據測試的需要,調整上旋鈕,即可得到微小的位移變量,達到精密測量的要求;
D、注明:本公司所提供ATH系列的彈簧試驗機大體分為小、中、大三種量程,其中大量程沒有微調旋鈕裝置。
十、注意事項
如果操作錯誤,可能會損壞本儀器或導致嚴重事故。本說明書中指出了預防事故發生的重要事項和儀器的使用方法,請在使用前仔細閱讀此說明書,閱讀后請妥善保存,以備再次閱讀。
·使用注意事項
A、應保持環境清潔,避免有液體、鐵屑等物質侵入變形量、工作負荷傳感器部件內,損壞電子元件。
B、請用柔軟的布來清潔本儀器,將布浸入泡有清潔劑的水中,擰干后再清除灰塵和污垢。
注意:不要使用易揮發的化學物質來清潔本儀器(如揮發劑、稀釋劑、酒精等)
C、請勿在以下環境中操作本機
(1)潮濕的環境
(2)多塵的環境
(3)使用油或化學品的地方
(4)周圍有震源的地方
D、變形量傳感卡尺及滑動齒條表面可用清潔汽油擦凈,并可少量鐘表油潤滑,不可使用丙酮、酒精。
E、長時間不使用,應拔下電源插頭,做好防塵、防濕處理。
十一、故障與維修
現 象 | 原 因 | 修 理 |
變形量顯示器只顯示000.00或IN00.000 | 兩功能按鈕簧片短路 | 取下護框,使按鈕簧片處于理想狀態 |
變形量顯示器功能按鈕不起作用 | 按功能按鈕用力過猛使簧片變形 | 取下護框,使按鈕簧片處于理想狀態 |
使用一段時間后變形量全長示值超差≤0.1mm | 變形量傳感器內滲有污物 | 取下護框,拆下顯示器配件,用≤5kg/cm 的清潔壓縮空氣噴射傳感器面,并用少許汽油擦拭,以清除污物。 |
負荷顯示器無顯示 | 1.電源沒接好。 2.開關鈕沒接觸。 | 1.接好電源。 2.再按一下開關鈕。 |